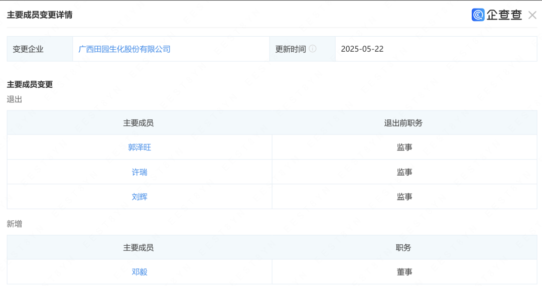
近日,广西田园生化股份有限公司披露深交所主板IPO辅导完成报告。辅导期间田园生化通过控股股东收购小股东股份、成立员工持股平台等方式有效减少了自然人股东人数,刘辉、许瑞、郭泽旺退出高管,新进邓毅为高管。
据田园生化官网显示,该公司聚焦农药、药肥、智能农业机械等三大业务板块,其中,农药及药肥板块是主要业务,有超300个登记产品。田园生化董事长兼总经理李卫国近期接受媒体采访时表示,田园生化近期或有邓秀新院士团队专利加持的柑桔黄龙病防控新品上市。
近日,广西田园生化股份有限公司(以下简称:田园生化)披露深交所主板IPO辅导完成报告,辅导机构国海证券。
报告显示,田园生化于2022年4月签署辅导协议。由于历史原因,公司自然人股东人数较多。国海证券结合股权结构的历史原因及实际情况,协助公司通过控股股东收购小股东股份、成立员工持股平台等方式有效减少了自然人股东人数,进一步优化了公司股权结构。
企查查显示,2025年5月,刘辉、许瑞、郭泽旺退出高管,新进邓毅为高管。

图源:企查查
经辅导,国海证券认为,田园生化具备成为上市公司应有的公司治理结构、会计基础及内部控制制度,公司管理层及相关人员已充分了解多层次资本市场各板块的特点和属性;田园生化及其控股股东、实际控制人、董事、高级管理人员、持有其5%以上股份的股东和实际控制人(或其法定代表人)已全面掌握发行上市、规范运作等方面的法律法规和规则、知悉信息披露和履行承诺等方面的责任和义务,树立了进入证券市场的诚信意识、自律意识和法治意识。6月3日,田园生化发布股东会议通知,计划于6月19日召开2025年第二次临时股东会议,审议《关于公司申请首次公开发行股票并在深圳证券交易所主板上市的议案 》《关于授权董事会办理公司首次公开发行股票并在深圳证券交易所主板上市相关事宜的议案》等19项深交所主板上市相关议案。田园生化成立于2001年,注册资本1.05亿元,位于广西壮族自治区南宁市,核心业务定位于为农业产业链提供产品和服务。公司董事长兼总经理为李卫国。
图源:企查查
官网显示,田园生化2024年销售收入超18亿元,员工约1700人,有近千人的技术和推广服务队伍,合作的经销商有5000多个,零售商约10万个。2024年6月,广西田园生化股份有限公司与华中农业大学签订“防控柑橘黄龙病植物源代谢物”成果转化协议。
图源:华中农业大学
据了解,该专利由中国工程院院士邓秀新团队申请,名称为“绿原酸及富含绿原酸的物质在防控柑橘黄龙病的应用”。

该发明专利指出,邓秀新院士团队在耐病柑桔品种澳指檬、金橘、宜昌橙、枳中鉴定到一种具有显著抑制黄龙病菌活性的代谢物绿原酸。专利转让给田园生化后,将以一种绿色安全的方式解决柑桔黄龙病问题。
该发明专利指出,所述抑菌剂含有绿原酸或富含绿原酸的物质,其中,绿原酸的有效浓度≥0.5mg/mL。通过绿原酸对柑桔黄龙病菌的抑菌试验证,实了绿原酸对柑桔黄龙病菌有显著的抑制效果,在田间证明了施用绿原酸对病树具有明显的治疗效果。
据了解,绿原酸主要提取自忍冬科和杜仲科等中草药植物,是一种绿色天然无毒的生物活性物质,广泛应用于医疗、食品、保健等行业,且成本较低,在农业生产中应用具有可行性。
田园生化近期或有绿原酸相关产品上市。李卫国近期受访时曾提到,华中农业大学在植物源代谢物研究方面有着深厚的积累,华中农业大学邓秀新院士团队的徐强教授项目团队从野生柑桔资源中发掘出的抗菌代谢物,为我们提供了新的解决方案。我们希望将这一科研成果转化为实际生产力,为柑桔产业绿色发展贡献力量。
同时,田园生化与广西太美合作组建广西田园太美柑桔新技术有限公司,专业致力于柑桔新技术的产业化示范推广,有望将这一科研成果快速推向市场,造福广大果农。