玉米除草剂——苯唑草酮

作者: 综合整理 2023/12/11 13:42:19
苯唑草酮属于广谱苗后除草剂,能有效防除玉米田禾本科和阔叶杂草,属于对羟基苯基丙酮酸酯双氧化酶(HPPD)类抑制剂,对三嗪类、乙酰乳酸合成酶(ALS)抑制剂和乙酰辅酶 A 羧化酶(ACCase)抑制剂起抗性的杂草有更稳定的防治效果,而且使用时期更长,是目前玉米田防治禾本科、HPPD抑制剂中安全性最高的除草剂。苯唑草酮在中国的专利已于2018年1月8日到期,专利号:ZL98802797.6。01作用机
苯唑草酮属于广谱苗后除草剂,能有效防除玉米田禾本科和阔叶杂草,属于对羟基苯基丙酮酸酯双氧化酶(HPPD)类抑制剂,对三嗪类、乙酰乳酸合成酶(ALS)抑制剂和乙酰辅酶 A 羧化酶(ACCase)抑制剂起抗性的杂草有更稳定的防治效果,而且使用时期更长,是目前玉米田防治禾本科、HPPD抑制剂中安全性最高的除草剂。苯唑草酮在中国的专利已于2018年1月8日到期,专利号:ZL98802797.6。


01
作用机理

苯唑草酮是苗后茎叶处理,通过根和幼苗、叶吸收,在植物中向顶、向基传导到分生组织,抑制对羟基苯基丙酮酸酯双氧化酶(4-HPPD),间接地抑制类胡萝卜素的生物合成,干扰叶绿体的合成和功能,由于叶绿素的氧化降解,导致发芽的敏感杂草在处理2-5天内发白,14天内植株死亡。
02
作物应用

苯唑草酮主要应用仍是玉米田,巴斯夫开始将苯唑草酮在甘蔗和果园市场推广,杀草谱为一年生禾本科和阔叶杂草。主要单子叶杂草:马唐、稗草、狗尾草、牛筋草、野稷、蒺藜草、异型莎草、碎米莎草等;主要阔叶杂草:苋、蓼、藜、苍耳、龙葵、苘麻、曼陀罗、鼬瓣花、母菊、野芥、野胡萝卜、鸭跖草等。


但苯唑草酮由于自身性质问题,对莎草效果较差,对阔叶草的持续控制能力较差,建议与莠去津或麦草畏等阔叶草成分桶混。



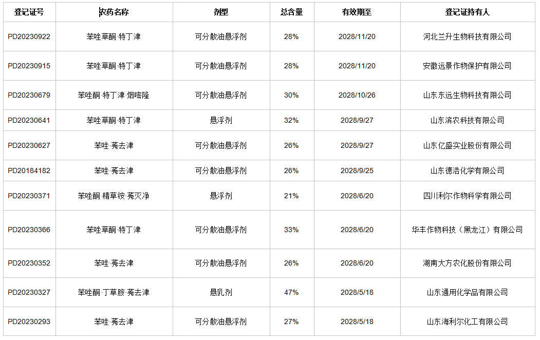
登记情况

据中国农药信息网查询,截至目前,我国共登记8个苯唑草酮原药产品,63个苯唑草酮制剂产品:其中单剂31个(有效成分含量4%、10%、15%、30%;剂型:可分散油悬浮剂、悬浮剂),混剂32个(混配成分主要有莠去津、特丁津等,剂型:可分散油悬浮剂、悬乳剂、悬浮剂),具体如下:


表1  苯唑草酮原药登记情

图片



图片

苯唑草酮混配成分


表2 苯唑草酮混剂产品

图片

图片

图片


相关推荐