4年亏损14亿元,8个账户被冻结!这家农药企业还有救吗?

作者:农财网农化宝典 2025/8/6 11:25:36
8月2日,江苏蓝丰生物化工股份有限公司(以下简称“蓝丰生化”)发布公告称,公司于近日收到南京中院送达的《执行裁定书》等相关法律文书。裁定书内容显示,在执行宋敬杰等投资者与江苏蓝丰生物化工股份有限公司证券虚假陈述责任纠纷一案中,因被执行人蓝丰生化未履行民事判决确定的义务,法院决定冻结、扣划江苏蓝丰生物化工股份有限公司名下银行存款人民币1,918万元或查封、扣押其同等价值的财产。&nbsp

8月2日,江苏蓝丰生物化工股份有限公司(以下简称“蓝丰生化”)发布公告称,公司于近日收到南京中院送达的《执行裁定书》等相关法律文书。


裁定书内容显示,在执行宋敬杰等投资者与江苏蓝丰生物化工股份有限公司证券虚假陈述责任纠纷一案中,因被执行人蓝丰生化未履行民事判决确定的义务,法院决定冻结、扣划江苏蓝丰生物化工股份有限公司名下银行存款人民币1,918万元或查封、扣押其同等价值的财产。

  
经蓝丰生化自查,上述裁定事项共冻结公司8个银行账户,合计被冻结资金人民币1,918万元,实际冻结资金人民币7.74万元。


4年亏损14亿元

农化板块经营情况堪忧


蓝丰生化表示,公司主要经营业务是通过控股子公司安徽旭合新能源科技有限公司和江苏蓝丰生物化工有限公司开展,目前公司整体生产经营活动正常有序,未因本次银行账户冻结事项受到重大不利影响。公司将积极筹措资金,履行法院判决,向投资者进行赔付,并尽快解除相应查封冻结措施。


资料显示,江苏蓝丰生物化工股份有限公司成立于1976年,主要生产杀虫剂、杀菌剂、除草剂及精细化工中间体四大系列产品,2010年在深交所上市。


业绩方面,巨潮资讯公布数据显示,蓝丰生化2021年—2024年分别净亏损4.91亿元、3.21亿元、3.32亿元、2.53亿元。合计4年亏损超14亿元。


图片

蓝丰生化2025年上半年经营情况。


近日,蓝丰生化发布业绩预告称,公司预计2025年上半年归属于上市公司股东的净利润亏损3600万元至6800万元,上年同期为亏损1.39亿元。


蓝丰生化解释称,受2025年分布式光伏行业短期抢装潮影响,市场需求旺盛,公司承接较多订单,同时积极拓展海外业务,故光伏板块业务收入较上年同期大幅增长,毛利率也有所提高,但农化板块业务不及预期,部分产品销量、售价、毛利同比均有不同程度下滑。此外,公司通过持续深化内部管理,强化费用管控等措施,在控制成本,提升运营效率,减少财务费用,降本增效等方面取得初步成效,公司整体实现大幅减亏。


披露信息违规

官司缠身问题不断


据悉,此次裁定源于涉证券虚假陈述。


2019年1月10日,蓝丰生化公司发布公告,称公司涉嫌信息披露违法违规被中国证券监督管理委员会立案调查。后经中国证券监督管理委员会江苏监管局认定,蓝丰生化未按规定在2016年半年报、2016年年报、2017年半年报中如实披露其与关联方之间的关联交易。


这种信息披露的违规行为,严重损害了投资者的利益。


由于蓝丰生化的虚假陈述,投资者在购买公司股票时未能获得准确的信息,导致投资决策失误,进而造成投资损失。为了维护自身权益,投资者选择通过法律途径进行维权。他们向法院提起诉讼,要求蓝丰生化赔偿因虚假陈述而造成的投资损失。


2023年7月5日晚间,蓝丰生化发布公告称,公司收到江苏省南京市中级人民法院发来的《应诉通知书》,江苏省南京市中级人民法院受理了12名原告诉公司证券虚假陈述责任纠纷案件,起诉金额合计709308.06元。


2024年6月,蓝丰生化又公告新增172名投资者以证券虚假陈述责任纠纷为由对公司提起民事诉讼。其中168人参加普通代表人诉讼程序,4人未参加普通代表人诉讼程序,诉讼金额共计人民币7651.01万元。


2024年10月,南京市中级人民法院一审判决显示,蓝丰生化需赔偿原告投资者经济损失共计1827.33万元。蓝丰生化表示公司将提起上诉。


2025年1月,江苏省高级人民法院终审判决,驳回上诉,维持原判。


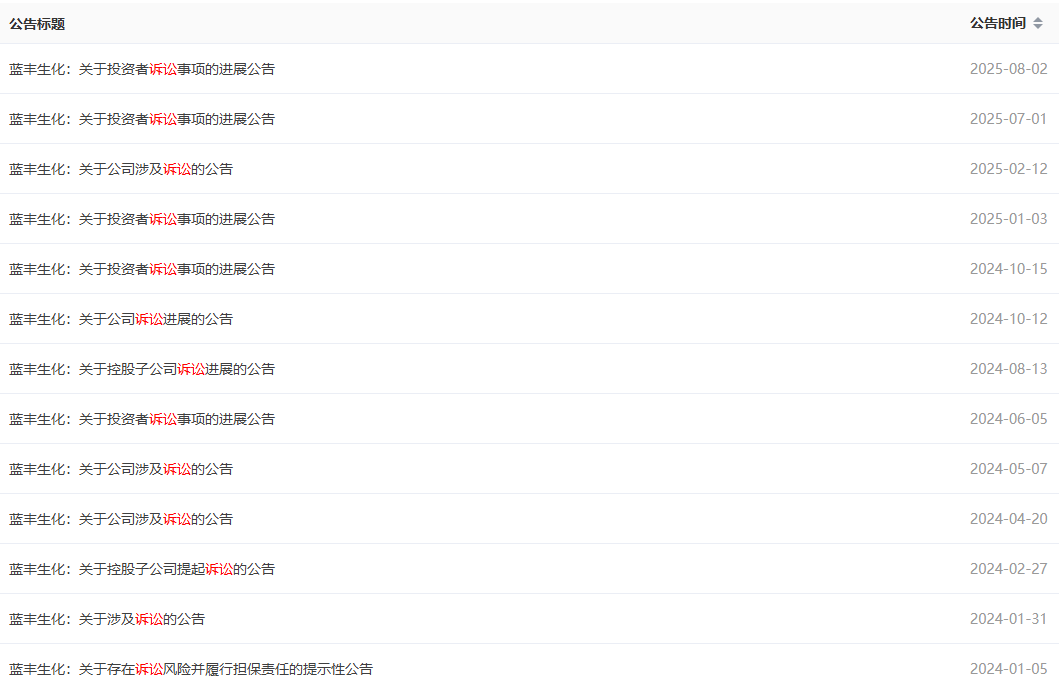
图片

蓝丰生化一年多来涉诉讼情况。


其实,蓝丰生化的官司问题不止有证券虚假诉讼。


据悉,蓝丰生化是土生土长的徐州新沂企业,其在上世纪70年代成立时就以农药为主营业务,一直延续至今。“蓝丰牌”多菌灵、甲基硫菌灵等农业杀虫、杀菌剂曾颇受市场欢迎,但自2010年上市后,蓝丰生化便不再满足于这项主营业务,而是不断尝试新领域。


2021年12月27日,蓝丰生化召开2021年第三次临时股东大会,审议通过了《关于购买江西德施普新材料有限公司100%股权、增资暨资产收购的议案》,同意公司与香港柏德贸易有限公司(以下简称“香港柏德”)、浙江德施普新材料科技有限公司(以下简称“浙江德施普”)、金国军及江西德施普新材料有限公司(以下简称“江西德施普”)签署《股权转让、增资暨资产收购协议》,以人民币30,240万元购买香港柏德持有的江西德施普100%股权。


2022年4月,在支付了4700万元的股权转让款之后,蓝丰生化成为江西德施普登记的100%控股股东。


在后续的运营中,蓝丰生化先后向江西德施普及其全资子公司蓝丰锦纶共借出款项2,680万元用于其向浙江德施普支付部分房租及购买存货、原材料等日常生产经营所需。


截止2022年12月31日,蓝丰生化共计向交易对手方支付了7,500万元股权转让款,但受公司融资进度不达预期的影响,蓝丰生化未能按照《股权协议》及《补充协议》的约定及时足额向交易对手支付股权转让款和设备款,因此江西德施普的公章、营业执照和银行账户控制权均被交易对手方控制。


蓝丰生化也失去了对江西德施普的控制权,并陷入长达2年的交易争端。


2023年5月,浙江德施普收回江西德施普的管理权,并将锦纶业务转回浙江德施普运营,因此江西德施普处于实质停产状态。


由于江西德施普及其子公司因未能按期向供应商支付货款受到多个供应商起诉,因蓝丰生化是其唯一股东,部分供应商同时也起诉了蓝丰生化。截止2024年6月30日,江西德施普供应商起诉金额共计约500多万元并要求蓝丰生化承担连带责任。


投入7500万元后丧失控制权,同时也落得官司缠身。蓝丰生化将香港柏德、浙江德施普、金国军一同告上了法庭。


2023年11月,蓝丰生化向江苏省徐州市中级人民法院提起诉讼,拟通过诉讼的方式终止相关协议,并要求交易对方返还已支付的相关款项,诉讼金额共计10,270万元。


随后,蓝丰生化官司不断。


2024年1月,海口柏德新材料有限公司起诉认为蓝丰生化还需支付剩余股权转让款3620万元及其违约金803.78万元,再加其预期可得利润损失3000万元,并要求拍卖江西德施普100%股权,其可从蓝丰生化对江西德施普所持10,224万元的100%股权变现中优先受偿,诉讼金额共计7,423.78万元。


2024年4月,浙江德施普以蓝丰锦纶未按合同约定按时支付租金为由提起诉讼,要求蓝丰锦纶承担支付租金及违约金、房屋占有使用费,各项费用共计1,483.73万元,同时要求江西德施普、蓝丰生化对蓝丰锦纶的债务承担连带责任。


2024年4月、5 月,玉山工投及玉山创新以江西德施普违约为由陆续提起四起诉讼,涉诉金额共计28,595,336.07元,并要求公司承担连带责任。

相关推荐