农业农村部发布重要通知
2025/10/9 9:45:42
近期黄淮地区特别是河南、山东、安徽等地受持续阴雨影响,秋收进度偏慢,为做好抗灾救灾机具保障,农业农村部强化农机应急救灾响应,在持续指导河南、山东、安徽等地做好秋粮机械化抢收的同时,央地协同联动加力优化调度服务、调集救灾机具、开展应急作业,支持灾区集中力量尽快抢收抢烘,确保秋粮应收尽收、确保质量,截至目前按该地区需求调剂调度履带收割机24.43万台、移动烘干机1986台。据了解,灾情发生以来,农业农
据了解,灾情发生以来,农业农村部成立工作专班,加强机具调度调配和改装技术指导,依托区域农机服务中心,发挥农机应急作业服务队作用,全力投入抢收抢烘作业,紧抓机收作业服务保障。同时与财政部门进一步明确救灾机具补贴事项,救灾资金可用于支持农机检修、运输和作业。
下一步,农业农村部将密切与河北、山西、江苏、安徽、山东、河南、湖北、陕西等黄淮8省沟通协调,根据最新灾情形势进一步调度救灾机具应急作业需求,积极协调相关地方和企业单位,努力满足救灾机具需要。同时将继续落实防灾救灾农机储备和调用制度、黄淮地区区域农机应急抢收抢种抢烘互助合作协议等应急响应机制,跨省份调剂调运履带式收割机、烘干机等应急机具,跨省调运仍有缺额的,部省两级共同努力直连农机制造企业强化兜底保障。积极沟通财政部门进一步加大政策支持力度,简化工作流程,确保应急作业机具能以最快速度支援受灾地区。(2025年农业农村部“三秋”机收保障热线电话:010-59199093/18513976955)
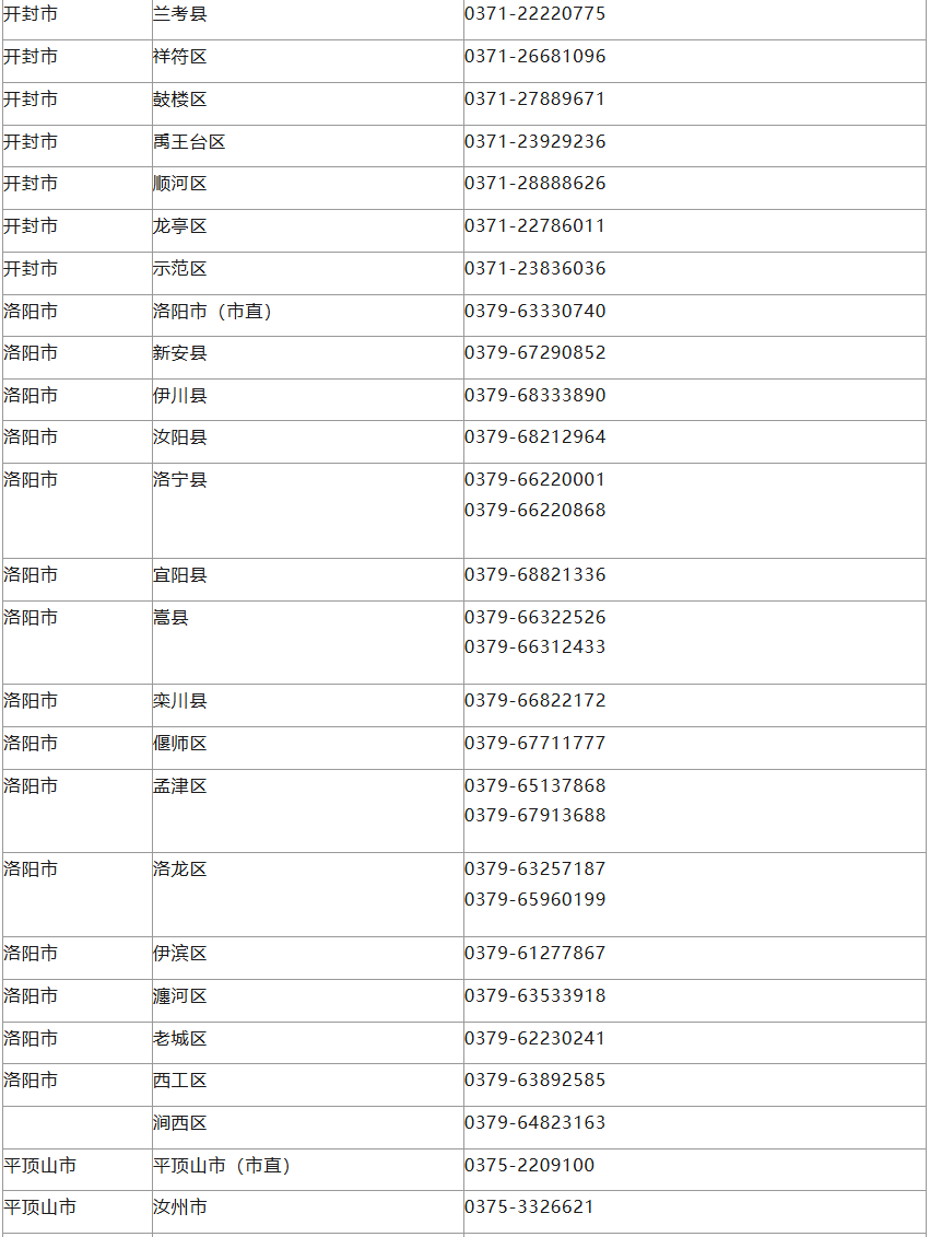
据河南省农村农业厅最新信息,为扎实做好“三秋”农机化生产服务保障工作,省农业农村系统设立省市县24小时“三秋”农机作业服务值班电话,为农民和农机手朋友提供作业信息、农机维修等咨询服务,及时协调解决相关问题。
河南省2025年“三秋”机收保障热线电话







相关推荐