12个植物品种权申请被驳回!

作者:农业农村部科技发展中心 2024/6/17 13:48:15
6月13日,农业农村部科技发展中心发布最新一期的“品种权公告(总第149期)”,其中12个品种权申请被驳回,82个被撤回,13个视为撤回,该公告的其他内容可点击下方链接查看。品种权申请公告(总第149期)品种权授权公告(总第149期)品种权事务公告 (总第149期)1.品种权申请的驳回(1)经审查,下列品种权申请不符合《中华人民共和国植物新品种保护条例》第十六条一致性、第十七条稳定性的规定,依据《
6月13日,农业农村部科技发展中心发布最新一期的“品种权公告(总第149期)”,其中12个品种权申请被驳回,82个被撤回,13个视为撤回,该公告的其他内容可点击下方链接查看。

品种权申请公告(总第149期)
品种权授权公告(总第149期)

品种权事务公告 (总第149期)
图片

1.品种权申请的驳回

(1)经审查,下列品种权申请不符合《中华人民共和国植物新品种保护条例》第十六条一致性、第十七条稳定性的规定,依据《中华人民共和国植物新品种保护条例》第三十一条的规定予以驳回。


图片

(2)经审查,下列品种权申请不符合《中华人民共和国种子法》第九十条新颖性的规定,依据《中华人民共和国植物新品种保护条例》第三十一条的规定予以驳回。

图片

(3)经审查,下列品种权申请不符合《中华人民共和国种子法》第九十条新颖性的规定,依据《中华人民共和国植物新品种保护条例》第三十一条的规定予以驳回。

图片图片


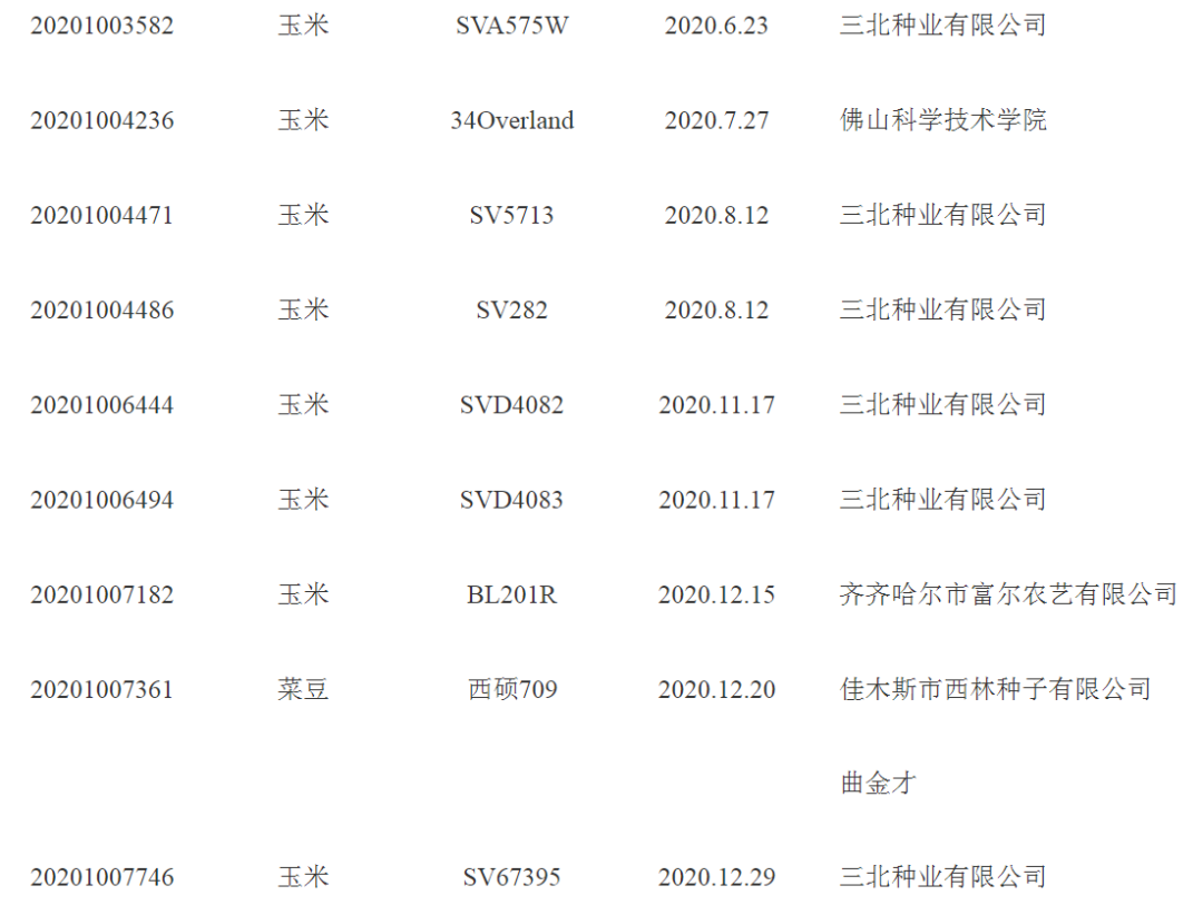
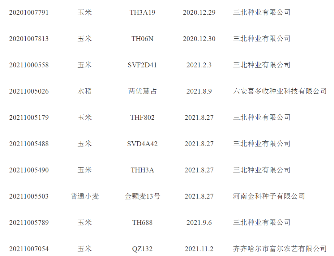
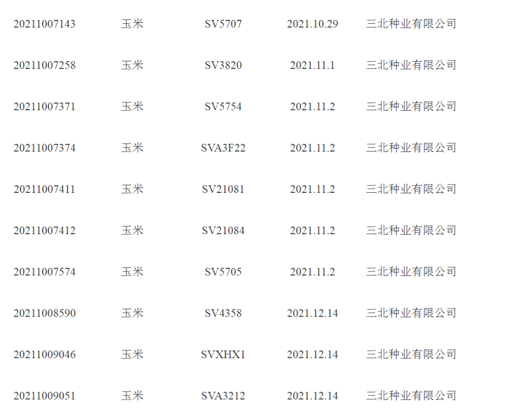
2.品种权申请的撤回

依据《中华人民共和国植物新品种保护条例》第二十五条的规定,同意下列品种权申请人撤回其品种权申请。

图片图片图片图片图片图片图片图片图片图片图片


3.品种权申请的视为撤回

依据《中华人民共和国植物新品种保护条例实施细则(农业部分)》第三十九条的规定,下列品种权申请的申请人未在规定的期限内答复审查意见,其品种权申请视为撤回。

图片图片图片

相关推荐